Kia Sedona: Head Lamps Repair procedures| Removal |
Head lamps become very hot during use; do not touch them or attach any hardware immediately after turning them off. |
|
| 1. |
Disconnect the negative (-) battery terminal. |
| 2. |
Remove the front bumper cover.
(Refer to Body - "Front Bumper Cover") |
| 3. |
Disconnect the head lamp connector (A) and mounting clip (B).
|
| 4. |
Remove the head lamp (A) after loosening the bolts.
|
| Installation |
| 1. |
Install the head lamp assembly. |
| 2. |
Connect the head lamp connector. |
| 3. |
Connect the negative (-) battery terminal. |
| Replacement |
Turn the head lamp switch off to avoid high voltage. |
|
| 1. |
Remove the head lamp. |
| 2. |
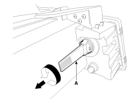
Remove the dust caps (A) from the head lamp assembly after turning in the counterclockwise direction.
|
| 3. |
Remove the bracket (A) after loosening the screws.
|
| 4. |
Remove the ignitor lamp (B) after disconnecting the connector (A).
|
| 5. |
Install in the reverse order of removal.
|
| 1. |
Remove the head lamp. |
| 2. |
Remove the dust caps (A) from the head lamp assembly after turning in the counterclockwise direction.
[LOW]
[HIGH]
|
| 3. |
Disconnect the head lamp low beam bulb connector (A).
|
| 4. |
Remove the head lamp low beam bulb (B) after removing the socket (A) from the head lamp assembly.
|
| 5. |
Disconnect the head lamp high beam bulb connector (A).
|
| 6. |
Remove the head lamp high beam bulb (B) after removing the socket (A) from the head lamp assembly.
|
| 7. |
Install in the reverse order of removal. |
| 1. |
Turn the head lamp switch off. |
| 2. |
Remove the bulb socket (A) and bulb (B) from the head lamp assembly.
|
| 3. |
Install in the reverse order of removal. |
| 1. |
Remove the head lamp. |
| 2. |
Remove the ballast (A) after loosening the screws.
|
| 3. |
Disconnect the connectors (A) from the ballast.
|
| 4. |
Install in the reverse order of removal.
|
| Inspection |
| 1. |
Check the battery voltage. (Low beam will be on when the battery voltage is above 9V.) |
| 2. |
Check the fuse and relay. |
| 3. |
Check the polarity of ballast. (If the polarity is changed, low beam does not light on.) |
| 4. |
Check that the bulb connector is connected securely. |
| 5. |
Visually check bulb (no filament) : damaged glass, damaged upper parts and lower parts of glass tube. |
| 6. |
After (1)~(5), replace the ballast and the ignitor. (ballast assembly).
|
| 1. |
Durable for vibration as there is no filament. |
| 2. |
HID lamps have longer lifetime than halogen lamps. |
| 3. |
Does not operate if polarity is changed. |
| 4. |
Operating input voltage : 9-16V |
| Head Lamp Aiming Instructions |
| [Mechanical aiming] |
If there are any regulations pertinent to the aiming of head
lamps in the area where the vehicle is to be used, adjust so as to meet
those requirements. |
| 1. |
Inflate the tires to the specified pressure and remove any loads from the vehicle except the driver, spare tire, and tools. |
| 2. |
The vehicle should be placed on a level ground. |
| 3. |
Draw vertical lines (Vertical lines passing through
respective head lamp centers) and a horizontal line (Horizontal line
passing through center of head lamps) on the screen. |
| 4. |
With the head lamp and battery in normal condition, aim the head lamps so the brightest portion falls on the vertical lines.
A : Vertical
[Non Leveling Device]
[Leveling Device]
|


| 1. |
Head Lamp (Low beam)
|

Head Lamps Description and Operation
Turn Signal Lamp Repair proceduresCatalytic Converter Description and Operation
Description
The catalytic converter of the gasoline engine is a three-way
catalyst. It oxidizes carbon monoxide and hydrocarbons (HC), and
separates oxygen from the oxides of nitrogen (NOx). ...
Steering wheel remote controller
(1) VOLUME
Used to control volume.
(2) SEEK
When pressed briefly (less than 1 second).
- FM, AM mode : searches broadcast frequencies saved to presets.
- CD, USB, iPod ...